搬瓦工对于国人来说知名度还是挺大的,不管是用来搭建网站,做项目还是上网,都是蛮好用的一款 VPS 了。搬瓦工连接大陆速度最快的是西海岸的洛杉矶 QNET机房,今年新增了洛杉矶 MCOM机房,好多朋友一下子不知道应该如何选择了,搬瓦工洛杉矶 QNET 机房与洛杉矶 MCOM 机房选那个好?今天魏艾斯博客就做一个评测对比一下,大家看结果自行选择吧。
搬瓦工官网
测试的 IP 分别是洛杉矶 QNET:45.78.30.11 洛杉矶 MCOM:98.142.142.123
ping 洛杉矶 QNET 机房结果:

ping 洛杉矶 MCOM 结果:

大家多用自己本地电脑 ping 一下,我这里看是洛杉矶 QNET 机房比较好,但是并不代表你那里的真实情况。
下面用站长工具 ping 一下全国的情况如何。
全国 ping 洛杉矶 QNET 机房结果:

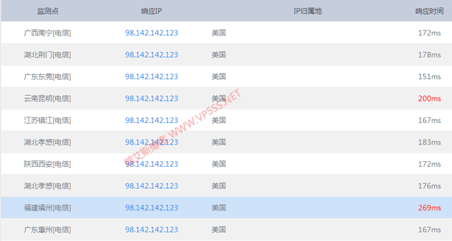
全国 ping 洛杉矶 MCOM 结果:

从全国 ping 来看,这两个洛杉矶机房差距不大,都可以选择。
那么具体怎么选择哪个机房呢?在搬瓦工后台这里的 Configurable Options 里面选择,如下图第一个和第二个分别是洛杉矶 QNET 机房和洛杉矶 MCOM 机房。

搬瓦工洛杉矶 QNET 机房与洛杉矶 MCOM 机房选那个好?根据你个人本地网络情况,在本地多 ping 几次这两个 ip,哪个延迟小、稳定掉包少就选哪个机房,选择好了可以参考注册购买搬瓦工 VPS 图文教程去注册账号付款等等,获取搬瓦工 95 折优惠码更省钱。
魏艾斯笔记