阿里云 ECS 服务器地域亚太东南 2 机房在悉尼,对就是那个盛产袋鼠的澳大利亚悉尼。悉尼机房可以服务澳洲,稍远一点也可以照顾到东南亚,亚太地区就算了毕竟距离太远,无法直连也没有 CN2 线路。因此亚太东南 2 推荐服务地域是澳大利亚和东南亚。
评测以 TraceRoute 测试为主,海外地域测试周边国家访问表现和中国大陆访问表现,在配合全球访问的 Ping 延时表现。
介绍之前大家先来领取阿里云幸运券,首购 20 种阿里云产品可享受不同程度打折和优惠。
【领券】 https://www.aliyun.com/minisite/goods?userCode=2rbhf9dd
【推荐】阿里云全民云计划 https://www.vpsss.net/go/aliyunquanmin
【性能】阿里云 ECS 高性能服务器 https://www.vpsss.net/go/aliyunecs
浙江电信

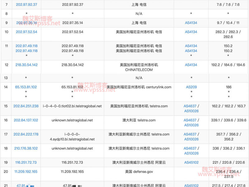
国内到悉尼机房绕路美国洛杉矶,所以 ping 值很高,不适合国内使用。
澳大利亚珀斯

对澳大利亚国内访问速度还是不错的,能够在 50ms 以下,适合在澳洲搞项目服务本地。
全球延时

从全球测试来看,悉尼节点适合给澳洲本地和东南亚提供网络服务,本文来源于阿里云论坛版主琴瑟,本评测只代表个人测试结果,具体可能会受到网络服务商、光纤网络、网络线路波动等因素影响,实际评结果以用户本地测试为准。更多阿里云节点评测报告,请查看阿里云服务器在哪里/评测
魏艾斯笔记