阿里云 ECS 服务器华北 2 节点在哪里?目前华北 2 节点在北京。北京是华北的骨干网络,在覆盖范围上包括华北、东北、西北和海外访问都是直连的。考虑到北京有众多互联网公司和大量的互联网访客,所以要想覆盖北京地区用户的话,一定要选择阿里云 ECS 服务器华北 2 节点。
介绍之前大家先来领取阿里云幸运券,首购 20 种阿里云产品可享受不同程度打折和优惠。
阿里云小站特惠、
阿里云2核2G 38元/年、
云服务器 99元/年 新购续费同价、
云服务器爆款直降90%、
阿里云场景组合套餐、
中小企业上云必备、
阿里云最新优惠活动页、阿里云商标服务
更多阿里云内容请看阿里云专题
更多阿里云内容请看阿里云专题
购买方法看下图,根据需要选择适合自己的配置,比如图中选择了 1 核 1G 配置,右侧地域选择华北 2。操作系统有 Linux 和 Windows 两种平台,点击立即购买,支付宝付款或者蚂蚁花呗付款(下个月还款)都可以。

评测结果:评测主要看国内测试同一地区内访问是否存在绕道现象,以及海外连接 Ping 延时情况。海外地域则测试周边国家访问表现和中国大陆访问情况。
阿里云小站特惠、
阿里云2核2G 38元/年、
云服务器 99元/年 新购续费同价、
云服务器爆款直降90%、
阿里云场景组合套餐、
中小企业上云必备、
阿里云最新优惠活动页、阿里云商标服务
更多阿里云内容请看阿里云专题
更多阿里云内容请看阿里云专题
天津移动

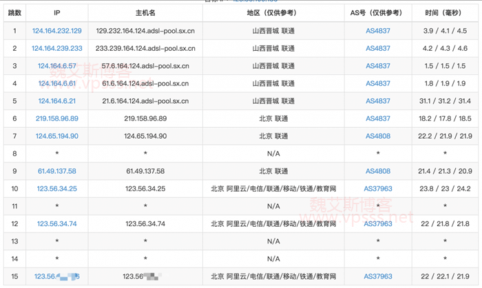
山西联通

海外延时

本文测试内容来源于阿里云论坛,作者版主琴瑟。如果你网站、项目受众主要是国内北方人群,那么考虑阿里云服务器华北 2 节点准没错,魏艾斯博客在北方,有使用过阿里云共享云虚拟主机和 ECS 云服务器,FTP 连接速度、网页打开速度是嗖嗖的。
魏艾斯笔记